单块PCB的尺寸要根据整机的总体结构来确定。PCB的大小、形状应适合表面组装生产线生产,符合印刷机、贴片机适用的基板尺寸范围和再流焊炉的工作宽度。
由于SMB的尺寸较小,为了更适应SMT自动化生产往往将多块板组合成一块板,有意识地将若干个相同单元PCB进行有规则的拼合,把它们拼合成长方形或正方形,称为拼板。
尺寸小的PCB采用拼板可以提高生产效率,増强生产线的适用性,减少工装准备费用。单面贴装的印制板拼板贴装面在同一面,双面全贴装不进行波峰焊的可采用双数拼板正反面各半,两面图形按相同的排列方式,这种排列方式可以提高设备利用率(在中、小批量生产条件下设各投资可减半),节约生产准备費用和时间。
拼板之间可以采用V形槽直线分割、邮票孔、冲糟等工艺手段进行组合,要求刻糟精确、深度均匀,有较好机械支撑强度但又易于分割机分断或用手掰开。
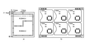
对于小相同印制电路的PCB拼合亦可按此原则进行, 但应注意元件位号的编写方法。拼合的印制电路板俗称“邮票”板,其结构示意图如下图所示。
(1)邮票板可由多块同样的PCB组成或由多块不同的PCB组成。
(2)根据表面组装设各的情况决定邮票板的最大外形尺寸,如贴片机的贴片面积印刷机的最大印刷面积和再流焊传送带的工作宽度等。
(3)邮票板上各电路板间的连接筋起机械支撐作用。因此它既要有一定的强度,又要便于折断把电路分开,连接筋的参考尺寸如下左图所示,为1.8mm*2.4mm。


汽车BMS板
医疗设备FPC
通讯功放 PCB
汽车传感器板PCB