PCB厂之5G专利华为全球第一,但5G商标却被韩国公司抢了先?
5G技术发展至今,大家都对这个词不陌生,但PCB厂有多少人知道,5G的商标在谁手中?
全球都“眼红”的技术
5G,全称第五代移动电话行动通信标准,也称第五代移动通信技术。世界各地各大通讯企业早就对此展开了相关技术研究。
最先有所成果的是韩国三星电子有限公司(下称三星),2013年5月13日,三星就宣布已成功开发5G的核心技术。随后,华为、中兴、酷派等其他企业也纷纷冒头。随着技术日新月异,许多国家也接连宣布推出5G服务,将5G落地。
当然,国内的技术也毫不逊色,线路板厂据专利数据公司IPlytics报告显示,截至2019年4月份,华为拥有1554件5G标准必要专利,全球第一。中国四家公司拥有全球36%的5G标准必要专利。
这时候不免让人好奇,5G商标都有谁申请?是华为吗?
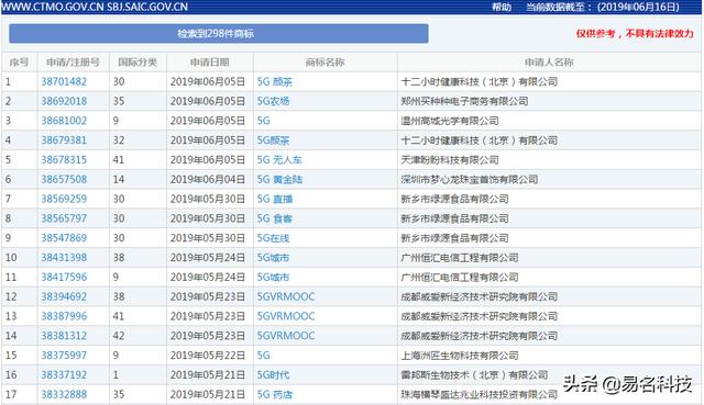
根据商标局查询,与5G相关的商标共被申请了298次,包括“5G"、"5G时代"、“5G+”、“5G 食代”、“5G宽带”等等。
最早申请注册5G商标的叫田友生,在2004年申请注册了25类"5G"商标,使用在服装; 游泳衣; 雨衣; 足球鞋; 鞋; 帽; 袜; 手套(服装); 领带; 腰带等商品,不过目前这件商标已经无效。而现存的已经注册成功的5G商标中,最早要属2007年,福建省龙行天下投资有限公司申请注册的25类“5G"商标。
另外,华为、电信、中兴等企业也都出现在申请人中:
2016年,LG申请注册了4件“5G LTE 1000"商标、4件”5G WHITE"商标和4件“5G BLACK"商标;
2017年,中兴申请注册了9类和42类的“5G先锋”商标;
2018年,联想申请注册了3件9类“5G极速通"商标;
2019年,中国移动申请注册了14类、16类、28类和42类的“5G+"商标;
没想到的是,韩国的LG公司早于国内各大企业在中国注册相关商标,不过这些商标都没有注册成功。
而作为专利数量第一的华为,虽然2009年就开始研究5G,但是时隔十年才申请注册相关商标。
2019年,华为申请了9类、42类“5G-VCN”商标和9类“5G”商标,其中9类“5G”商标备受关注。
这是一件图形商标,指定使用在可下载的手机应用软件; 人脸识别设备; 带身体质量分析仪的秤; 体重秤; 智能手机屏幕专用保护膜;等商品上。
其图形是5和G变换组成,在设计的基础上,网友们纷纷对此解读:
有人觉得这是“万物互联”的意思,斜向右下角的中间元素像字母“W”,是汉字“万”的拼音的首字母;5G的"5"字与我们汉字“物”谐音,整体上“5G”两个字相互交汇,相互连接,寓意连接。
有人觉得形状类似数学符号“∞”,寓意“5G无限、华为有无限可能”。
当然,这个“∞”还有另一种解释,为何无限符号“∞”是横着的数字“8”,电路板小编据说这个创意来源于莫比乌斯带。莫比乌斯带由德国数学家比乌斯和约翰·李斯丁发现,将一根纸条扭转180°后,两头再粘接起来做成的纸带圈只有一个面,假如一个人能在上面行走那你永远走不到头。
除此之外,开玩笑的网友也不少,认为是“无限流量”、是“给世界带个手铐,你们都是中国的”,是“自行车”等等。关于这个商标,你有什么解读?
我要评论: | |
内 容: |
(内容最多500个汉字,1000个字符) |
验证码: | 看不清?! |
最新产品
同类文章排行
- 从“芯”出发,PCB概念梳理及未来发展情况
- 电路板厂家拆解分析PCB产业链
- 一文知晓汽车电路板的定义及市场现状
- 线路板厂都主要做什么呢?本文为你简单介绍
- 本文带你分析国内PCB厂的优势
- PCB 行业新曙光:探寻未来增长契机
- 电路板厂家未来发展前景及挑战一览
- 电路板厂独家分享:PCB行业概览
- 电路板厂家带你了解全球印制电路板市场概况
- PCB 板:新能源汽车背后的关键支撑
最新资讯文章
您的浏览历史

共有-条评论【我要评论】